觀點(www.guandian.cn)向來以提供迅速、準確的房地產資訊與深度內容給房地產行業、金融資本以及專業市場而享譽業內。公眾號ID:guandianweixin
作者:李露羅鈞
“密室逃脫”是一種實景逃脫類的游戲模式,密室逃脫的現場設置、玩法設計及運營方式多種多樣、相輔相成,不僅在各個環節涵蓋了多種可被挖掘的知識產權保護點,而且在整體上也存在可被挖掘的知識產權保護矩陣。系統構建的知識產權保護矩陣,可以有效對抗惡意侵權行為和不正當競爭。
1“密室逃脫”作品設計保護點挖掘
“作品”的角度去看待密室的各項設計,我們可以挖掘出三大類可供知識產權保護的設計項。
其一,密室的整體路線及配套提示設計。以知名的日本漫改、奈飛影視作品《彌留之國的愛麗絲》第一關的密室逃殺為例,整個密室以消防通道線路圖為藍本,以九宮格的形式構建了每一處小密室的“生門”、“死門”在打開后對應的劇情后果,并通過長度、轉角、消防圖例設施設備、NPC提示等給予玩家推測依據,從而破解該密室的正確開門選項和逃脫路徑。


圖1:《彌留之國的愛麗絲》第一關:利用消防通道線路圖進行密室逃殺的“生門”、“死門”線路設計
這種整體線路設計思路,巧妙地結合了消防通道路線及圖例設施、四邊形固有邊界、游戲劇情和提示設置等因素,經過律師和代理機構的聯合保護設計,可屬于“文學、藝術和科學領域內具有獨創性并能以一定形式表現的智力成果”,我們建議以《著作權法》第三條第(七)項的“工程設計圖、產品設計圖、地圖、示意圖等圖形作品和模型作品”為法律基礎,為密室的精巧線路設計及其配套提示設計進行表現形式的固化,并申請作品著作權登記進行保護。
其二,密室的裝飾裝潢和氛圍營造設計。與普通的迷宮類游戲相比,密室逃脫游戲在氛圍營造方面有著令人身臨其境的優勢效果,離不開密室的裝飾裝潢設計和特殊營造技巧。對于在創作意義上具有獨創性,在商業意義上對該游戲競爭力具有靈魂意義的裝飾裝潢作品,如果與律師和知識產權代理機構溝通認為落入了《著作權法實施條例》第四條對于美術作品(“繪畫、書法、雕塑等以線條、色彩或者其他方式構成的有審美意義的平面或者立體的造型藝術作品”)或建筑作品(“以建筑物或者構筑物形式表現的有審美意義的作品”)的定義范疇,那么我們建議以《著作權法》第三條第(四)項的“美術、建筑作品”進行著作權登記和保護。


圖2:《達芬奇之家》的密室建筑氛圍營造:圍繞14世紀佛羅倫薩建筑風格,成功營造了達芬奇所在的文藝復興時期的氛圍效果
需要注意的是,美術、建筑作品著作權僅能就其外觀美感層面的設計進行保護,而當密室的某些設施設備涉及制作工藝、機械機關等理工方面的技術,則需要移步本文后續關于專利技術挖掘以進行保護。
其三,密室的劇情設計。為了增強玩家的沉浸式體驗,近來不少密室商家與“劇本殺”進行聯動,將原創劇情與密室逃脫結合,受到市場的認可。


圖3:密室游戲《迷失島3:宇宙的塵埃》常借助知名人物伴生“彩蛋”劇情,例如“卷福”夏洛克·福爾摩斯、“C羅”克里斯蒂亞諾·羅納爾多
以國產密室逃脫游戲《迷失島》為例,其劇情時常出現玩家們耳熟能詳的知名人物的“彩蛋”,增加了可玩性和劇情的趣味性。對于原創劇情,我們也建議記載成《著作權法》第三條第(一)項的文字作品,并進行著作權登記,以保護原創劇情的知識產權。還需注意的是,當密室游戲劇情和運營過中含有對既有原創作品的改編、匯編、翻譯、放映、表演等元素時,由于用于商業盈利目的,根據《著作權法實施條例》第二十七條等規定,應提前取得原作品的著作權人書面授權。
2“密室逃脫”專利技術保護點挖掘
密室的設置和運轉涉及種種技術以實現效果。那么,怎樣的技術點可以申請專利?結合《專利法》2021年6月的最新修訂,我們將這一問題的答案歸結為以下三點:
對產品、方法或者其改進所提出的新的技術方案;
對產品的形狀、構造或者其結合的新的實用技術方案;
對產品的整體或者局部的形狀、圖案或者其結合的新設計。
從理論回歸到密室逃脫整個商業模式過程中,我們需要將眼光既“深入”又“淺出”,方能更好地挖掘專利點。所謂“深入”,就是要深入單個裝置、技術、方法,去細究其可能存在的專利點,并盡可能形成含有多個專利且專利之間互相勾稽的矩陣,進行最為周延的知識產權申請和保護。例如,密室逃脫過程中常用到“門”這一設施,而一扇可懸停的密室門,便可能涉及多個值得深入挖掘的專利點。

圖4:《密室逃脫之偵探任務6:圓月山莊》中的密室懸停門
這樣一扇看似平平無奇的懸停門,倘若結合密室游戲所希望實現的效果去進行了專門設計,那么可挖掘的專利點其實有很多,足以構建專利矩陣(注:本文在此僅提供相關思路,并非主張實際中必然按照本文的思路進行專利矩陣申請)——我們可以從密室懸停門的主要結構件為出發點,通過鉸鏈、傳感器、控制方法、門面等引子,進行如下構件拆解和專利挖掘。

圖5:“密室懸停門”的專利矩陣挖掘思路
在挖掘專利矩陣的過程中,除了技術構件拆分本身,還應注意“淺出”——考慮密室作為一個整體(既是各種機關、道具、技術環環相扣的整體,也是原創劇情推進和勾稽的整體)能否將更多的技術和方法納入矩陣,進行專利化,力爭形成最周延、最完善的保護方案,并增強后續侵權維權訴訟時成體系的證明能力。這方面的內容我們將在本文第4部分進行實例說明。
3“密室逃脫”商標價值保護點挖掘
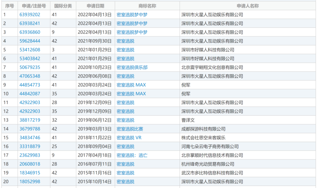
日前,經過官方渠道查詢,“密室逃脫”已經被多個申請人注冊了多個國際分類的商標。不過,“密室逃脫”作為一種游戲類型和商業模式,真正能夠打響品牌、起到宣傳推介效果的是具體的商號和游戲名。我們建議根據商業層面對某些商號(例如計劃連鎖經營的企業名稱)、游戲名(例如形成系列、經由資深設計者打造的游戲名稱)提前進行商標注冊,以保護該等特定標志。

圖6:“密室逃脫”商標注冊公示信息,查詢時間:2022年5月,來源:國家知識產權局
4“密室逃脫”知識產權保護矩陣的強化
在挖掘和形成“密室逃脫”的知識產權保護矩陣后,我們還建議從兩方面進一步強化矩陣的保護效果。
一方面,即使是單獨保護點,技術交底也要由點到面。技術交底書是一項專利最底層、最基礎的權利說明,對于專利侵權訴訟的爭議焦點認定往往也起到至關重要的作用。技術交底書要寫明如下三個方面:
解決的技術問題:應用場景、現有技術、存在的問題;
使用的技術方案:要由點到面,盡可能提供大范圍、可改進方案;
達到的技術效果:技術本身的效果和對現有技術的改進效果。



圖7:密室逃脫“密碼盒”的多種設計規格
對于技術方案的交底撰寫,尤其要注意由點到面,不要拘泥于現有密室中的機關、物品尺寸。例如,上圖中的“密碼盒”完全可以設計為多種尺寸,并不影響游戲效果,交底書中對其尺寸也就不宜描述得過于絕對,可以通過浮動范圍來匡定。因此,要盡可能地在交底書措辭中提供可改進的、多范圍的技術方案說明,而非僅描述一個特定規格的保護點。
另一方面,矩陣方案要貼合商業,富有整體思維。“密室逃脫”是一個系統級的工程,其中的許多機關、物品的設計不僅自身精巧,而且往往與整個密室的商業效果相得益彰。在進行知識產權矩陣方案的挖掘、設計、研討時,應該對密室的整體效果意圖和知識產權保護點之間的關聯情況多加關注。


圖8:“密室逃脫”中的3D變臉道具畫,玩家在不同角度會看到不同畫面
例如,“密室逃脫”中的3D變臉道具畫,在設計時,不僅畫本身利用3D光學技術進行了精巧的設計,使得觀看者在不同角度會看到不同畫面;而且對于整個密室而言,畫面的擺放角度也迎合了玩家的游戲歷程,玩家在密室游戲過程中剛進入可看到畫面的地理位置時,畫面往往是正常形象,而隨著游戲的進展、玩家的移動,畫面顯現出駭人的轉變,從而增強了氛圍渲染和游戲效果。那么,在設計矩陣方案時,在3D變臉道具畫本身的保護點之外,還可以考慮將畫面擺放與密室設計角度的方法納入知識產權矩陣之中,關聯地進行保護。
5結語
“密室逃脫”不僅僅是一種網紅游戲,在知識產權矩陣保護的視角下,還是一項系統級的工程。唯有從細節之處抽絲剝繭、又從整體之處高瞻遠矚,方能對密室的知識產權保護做到盡可能的完善,以助力這一新興業態捍衛產權、依法維權、行穩致遠。
注:文章為作者獨立觀點,不代表資產界立場。
題圖來自 Pexels,基于 CC0 協議
本文由“金誠同達”投稿資產界,并經資產界編輯發布。版權歸原作者所有,未經授權,請勿轉載,謝謝!

金誠同達 











