最及時的信用債違約訊息,最犀利的債務危機剖析
作者:鯨哥
來源:北京法拍房資訊(ID:gh_790702b54b93)
“先生,冷靜,請不要亂舉!”
星爺電影《美人魚》中拍賣師的這句經典臺詞大家或許還記憶猶新。拍賣競價是門大學問,法拍房更是如此。尤其是豪宅類的拍賣,經常會引來上萬人的圍觀,畢竟比誰更有錢的角斗場,土豪之間的“廝殺”,有誰會不愿意來吃個瓜呢?
前兩天,鯨哥推薦了一套霄云路8號的房子,霄8到底有多牛,詳情可參見之前的文章。
追溯歷史,霄云路8號在2016年集中上拍5套,2017、2018兩年各有一套上拍之后,近兩年內再無房源。
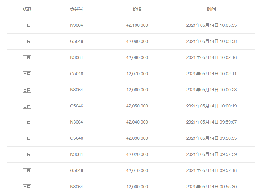
直到2021年1月22日,5號樓2單元1702上拍,在保證金高達600萬的情況下,依舊吸引了5人參拍,最終經歷了48輪出價后,以5654萬成交。值得注意的是,本套房源市場價5500萬元,最終是以2.8%溢價成交。
此次拍賣標的為霄云路8號7號樓2單元301,市場價為5600萬,起拍價4200萬,加價幅度為1萬元。
為表尊敬,本次參與競價的共有三位買家,分別是N3064、G5046和V5244,無論背后身份如何,在這里都尊稱一聲“大佬”。
霄8這場戰役,率先在今天上午9點55分由N大佬打響第一槍,4200萬報上底價;2分鐘后,另一位大佬G登場,謹慎地加價1萬,試試水。
隨后兩位大佬在接下來的10輪競價中,每手加價1萬元,間隔時間基本都在三分鐘以內。

就在競價看似要在N與G兩位大佬間“友好”加價中進行下去的時候,忽然間V大佬出現了,一手加價1萬宣告入局后,V大佬一輪加價22萬,將整個競價過程瞬間拉高了一個層級!

見新人如此“飛揚跋扈”,G大佬立馬表示不服,在一分鐘后,加價3萬以表自己跟得上,沒那么容易被打敗!
隨后的7輪,更是G大佬展示實力的舞臺,在V與N陷入保守僅每輪加價1萬時,G大佬出手就是5萬,自己才是毋庸置疑的大佬!
此番過后,出價已經來到了42470000元。隨著V大佬6秒緊貼加價來到42480000元,三人同事默契地停手觀望,似乎在考慮前幾輪的加價是否過于著急,1分鐘間隙的競價對另兩位對手似乎沒有造成太多的震懾。

3分鐘后,還是G大佬率先出手,但一改之前的豪橫模式,只加價1萬元。
他的這一舉動,將競價的節奏又重新帶回了1萬每手,偶爾G大佬自己的3萬加價,雖都被對手1萬、1萬的加價迅速淹沒,但絲毫不能掩蓋G大佬熱情加價的決心。
很明顯,目前的價格仍然在G大佬的預算范疇之內,看G大佬一派勝券在握的加價狀態,誰敢說他不會最終拍下本套房呢?
就在G大佬5萬、3萬的加價,N大佬1萬、1萬的加價時,V大佬忽然發狠,一次性加價20萬,將價格拉高到了43000000元。
4分鐘后G大佬不甘示弱,同樣一次加價20萬,然而這股加價的熱潮隨著之后N大佬理性加價1萬元后,立馬就恢復了冷靜,這種冷靜維持了10輪,N大佬忽然加價5萬,掀起了一下小高潮。
然而從第49輪開始,之前大手筆兩次加價20萬的V大佬忽然銷聲匿跡了,明明是三個人的戰場,忽然變成了兩個人的決斗場。
就之前的競價情況來看,似乎G大佬對于本套房子更加勢在必得。面對N大佬不急不緩地加價,G大佬采取了跟隨戰術,1萬、2萬,在N大佬出價2分鐘之內完成出價。
“房子就是自己的”,G大佬通過步步緊逼,N大佬看起來有些無處遁形,經常在猶豫3、4分鐘后,才出手加價1萬,對房子的愿望完全不及G大佬來的迫切。
就這樣,形勢焦灼到了由G大佬出價的43800000元,而時間也已經到了中午12:00,距離初次出價已經過去了兩個多小時。
另一邊N大佬再次陷入了沉默,時間在一分一分的過去,眼看著馬上要進入讀秒階段,忽然間全程加價不超過5萬、一直默默無聞、穩定輸出的N大佬再加5萬,G大佬完全不服輸,立馬跟上加價。

時間流逝,可能中午沒顧得上吃飯的大佬們也漸漸失去了耐心,加價的幅度開始加大,5萬、3萬,到了這個階段,兩位大佬也明白了這一上午的時間,最終只剩下他兩人,鹿死誰手就在這最后的幾分鐘。
N大佬加價3萬到44380000,3分鐘后,G大佬決定放手一搏直接加價20萬,試圖用巨大的加價壓垮N大佬的心理,然而N大佬才是真的大佬,面對突然的巨幅加價不為所動,44590000元,穩增1萬,最終拿下這套霄云路8號!

本次霄8 的競拍過程,其實對我們參拍法拍房很有借鑒意義。由于法拍房是以競拍的方式來購買,眾買家在各自的電腦前自行加價,這會導致很多購房者在這樣的氛圍下沖動加價,或者無法完全理智對待競價,下面是我們總結的關于競價心理以及一些出價小技巧,希望對您有所幫助:
1)明確自己的心理價位:不要因為對手的頻繁加價而影響到自己的判斷,整個過程要保持理智。
2)跳著出價:出價不要有規律,要讓對手摸不清你的路數。
3)不要相信什么一口價壓死對手:司法拍賣中有的競買人想一口氣把價格抬上去,好讓對手“知難而退”。這個戰術一定要謹慎采取,不然就是給自己挖坑,競拍時首先要衡量自身的經濟實力,還要確定自己得到的合理分析過的心理價位。
4)理智揣測對手心理:能夠競價到最后的人才是跟你爭房產的人,一般也就只剩倆人較勁兒,這個時候就要分析對方的心理,不要過度較勁,也不要輕易放棄,做到理智判斷。
理性、冷靜,不盲目、不沖動,希望大家都能拍到自己心儀的房子。
注:文章為作者獨立觀點,不代表資產界立場。
題圖來自 Pexels,基于 CC0 協議
本文由“北京法拍房資訊”投稿資產界,并經資產界編輯發布。版權歸原作者所有,未經授權,請勿轉載,謝謝!

北京法拍房資訊 











